Flowsys

Non Return Valve

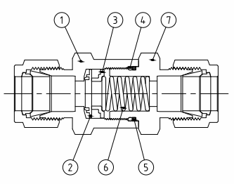
NRV (Non-Return Valve) or check valve allows fluid to flow in one direction only, preventing backflow. It protects sensitive instruments and equipment from reverse flow damage. Typically used in gas, steam, or fluid instrumentation lines. Operates automatically without external control or actuation. Available in various materials and pressure ratings to suit process conditions.

FEatures

Available in SS316,
Heat Code Traceable to certified material test report
Unidirectional flow control
Instant shut off in upstream condition
Variety of end configuration includes
Male / Female NPT, BSPT and BSPP pipe connection
Every valve is factory tested.